Измерительный шаблон сварщика Bridge Cam WGU-9M ЭЛИТЕСТ

Лицевая сторона Оборотная сторона
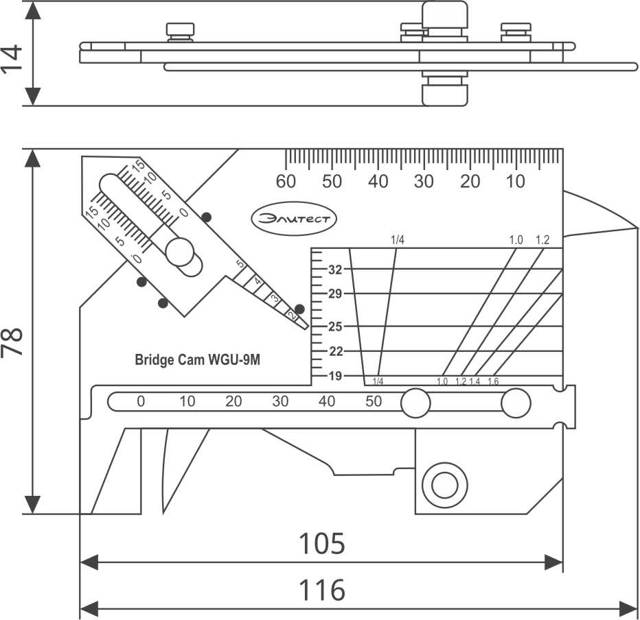
Общий вид Bridge Cam WGU-9M
1 – основание; 2, 3, 8 – измерительные движки; 4, 5 - стопорные устройства движков (2) и (3) соответственно; 6, 7 – измерительные наконечники движка (2); Т – торцевая грань; А, Б, В, Г, Д, Е, Ж – измерительные шкалы; Н – номограмма коэффициента расширения; М, Л, С – контрольные риски-индексы шкал (Б), (В) и номограммы (Н) соответственно; И, К, Р – контрольные грани для снятия показаний по шкалам (А), (Г) и (Ж) соответственно
Назначение
Измерительный шаблон Bridge Cam WGU-9M предназначен для визуально-измерительного контроля стыкуемых деталей, параметров сварного шва, дефектов, контроля диаметров прутков, арматуры и труб малого диаметра. Данный шаблон отличается от Bridge Cam WGU-8M удлиненными губками для контроля диаметров до 50 мм и наличием номограммы (Н)*, позволяющей определять коэффициент расширения стыкового шва арматуры или прутка, выполненных газопрессовой сваркой.
Технические характеристики
Справочные размеры, мм:

Вес, не более: 150 г
Материал: нержавеющая сталь
|
Шкала
|
Ед. изм.
|
Диапазон шкалы
|
Цена деления шкалы
|
Погрешность измерения
|
|
А
|
град.
|
0–70
|
5
|
±2,5
|
|
Б
|
мм
|
25,0–0–25,0
|
1,0
|
±0,25
|
|
В
|
мм
|
0–25,0
|
1,0
|
±0,25
|
|
Г
|
мм
|
0–15,0
|
1,0
|
±0,25
|
|
Д
|
мм
|
2,0–5,0
|
0,5
|
±0,25
|
|
Е
|
мм
|
0–60,0
|
1,0
|
±0,15
|
|
Ж
|
мм
|
0–50,0
|
1,0
|
±0,30
|
*Номограмма (Н) позволяет определять коэффициент расширения прутков и арматуры диаметром 19–32 мм
Контролируемые параметры

|
Параметр
|
Измерение по шкале
|
Диапазон измерения
|
Цена деления шкалы
|
Погрешность измерения
|
|
Подготовка к сварке
|
толщина деталей (s), мм
|
Е Ж
|
0–60,0 0–50,0
|
1,0 1,0
|
±0,15 ±0,30
|
|
притупление кромки (c), мм
|
|
зазор между деталями (b), мм
|
Д
|
2,0–5,0
|
0,5
|
±0,25
|
|
глубина скоса кромки (h1), мм
|
Б, В
|
0–25,0
|
1,0
|
±0,25
|
|
смещение кромок (h2), мм
|
|
угол скоса кромки (β), град.
|
А
|
0–70
|
5
|
±2,5
|
|
диаметр электродов (d1), мм
|
Ж
|
0–50,0
|
1,0
|
±0,30
|
|
диаметр прутков, арматуры и труб (d2), мм
|
|
Стыковой шов
|
выпуклость стыкового шва (g1) и его корня (g2), мм
|
Б
|
0–25,0
|
1,0
|
±0,25
|
|
вогнутость стыкового шва (g3) и его корня (g4), мм
|
Б, В
|
0–25,0
|
1,0
|
±0,25
|
|
ширина стыкового шва (е), мм
|
Ж
|
0–50,0
|
1,0
|
±0,30
|
|
Угловой шов
|
фактическая толщина углового шва (a), мм
|
Г
|
0–15,0
|
1,0
|
±0,25
|
|
катет углового шва (k), мм
|
Б
|
0–25,0
|
1,0
|
±0,25
|
|
Дефекты
|
длина дефекта (l1), мм
|
Е Ж
|
0–60,0 0–50,0
|
1,0 1,0
|
±0,15 ±0,30
|
|
глубина дефекта, чешуйчатости, западания между валиками (h3), мм
|
Б, В
|
0–25,0
|
1,0
|
±0,25
|
|
Газопрессовая сварка
|
длина (l2) и диаметр (d3) шва, мм
|
Ж
|
0–50,0
|
1,0
|
±0,30
|
|
длина неравномерности шва (l3), мм
|
|
коэффициент отношения длины и диаметра шва к диаметру арматуры, мм
|
Н
|
1,0–1,6
|
0,2
|
–
|